Popis
Klíčové vlastnosti
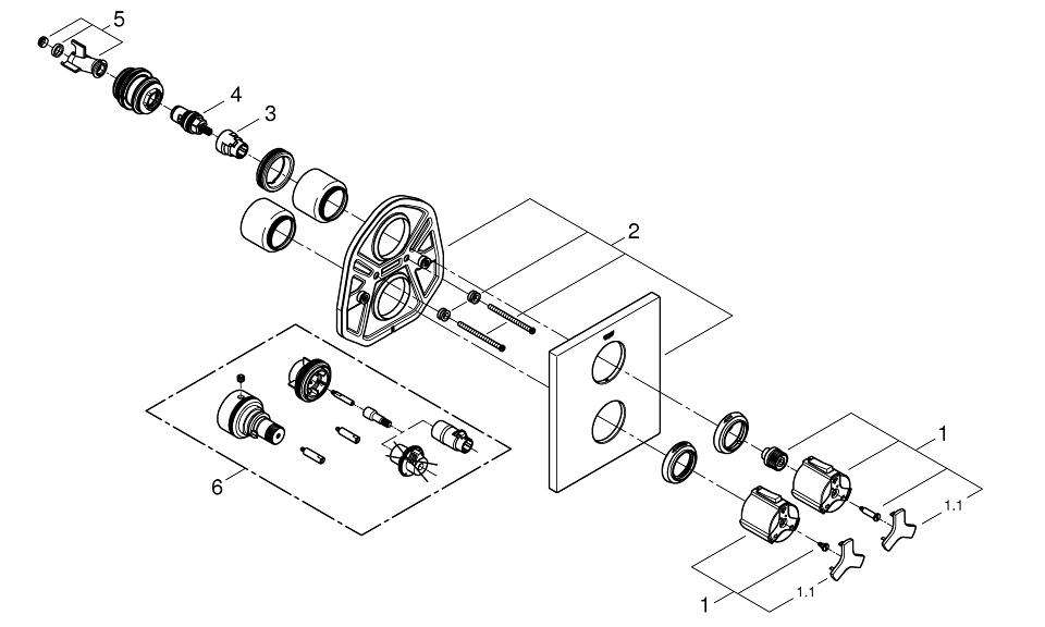
sada pro konečnou instalaci
GROHE Rapido T 35 500 000/35 050 000
povrchová úprava GROHE Long-Life
teplotní rukojeť se stupnicí s GROHE SafeStop na 38 °C
Volitelný omezovač teploty GROHE SafeStop Plus na úrovni 43 °C
rukojeť pro ovládání objemu s GROHE EcoButton (úsporné tlačítko s individuálně nastavitelnou zarážkou)
těsnění rozety a revizní šachty
kovové rukojeti
kovová rozeta
kryt upevnění
keramický horní díl Carbodur 1/2", 180°
bez podomítkového tělesa
Náhradní díly
Související produkty
Grohe Water Technol. AG& Co.KG
GROHE Keramický vršek DN 15 #45346000
995 Kč včetně DPH
1 180 Kč včetně DPH