Popis
Klíčové vlastnosti
35mm keramická kartuše GROHE SilkMove
nastavitelný omezovač průtoku
otočná trubková výpusť s perlátorem
zarážka
odtoková souprava 1 1/4“
měděné trubky
rychlomontážní systém
povrchová úprava GROHE Long-Life
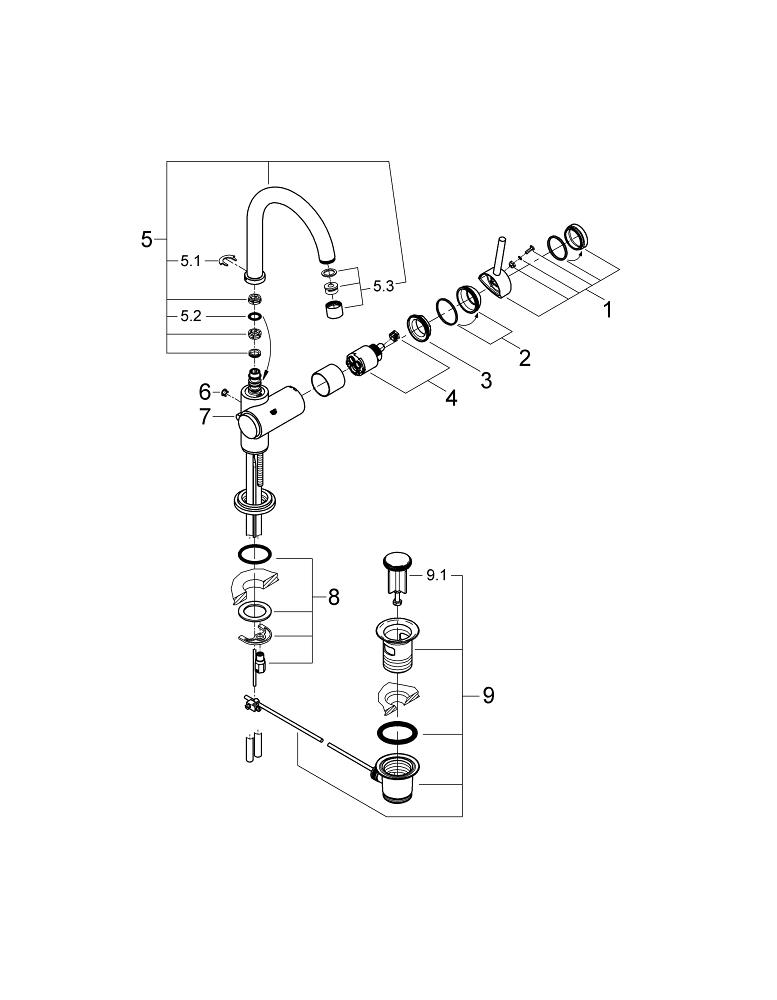
Náhradní díly
Související produkty
Grohe Water Technol. AG& Co.KG
GROHE Kontrašroubení Chrom #46249000
325 Kč včetně DPH
519 Kč včetně DPH
Grohe Water Technol. AG& Co.KG
GROHE Zajišťovací kroužek Chrom #0806500M
737 Kč včetně DPH
751 Kč včetně DPH