Popis
Klíčové vlastnosti
jednootvorová montáž
kovová rukojeť
GROHE Long-Life 28 mm keramická kartuše
povrchová úprava GROHE Long-Life
GROHE Water Saving – méně vody, dokonalý průtok
maximální průtok (při 3 barech): 5 l/min
rychlomontážní systém
s kulovým kloubem
odtoková souprava 1 1/4“
flexibilní připojovací hadice
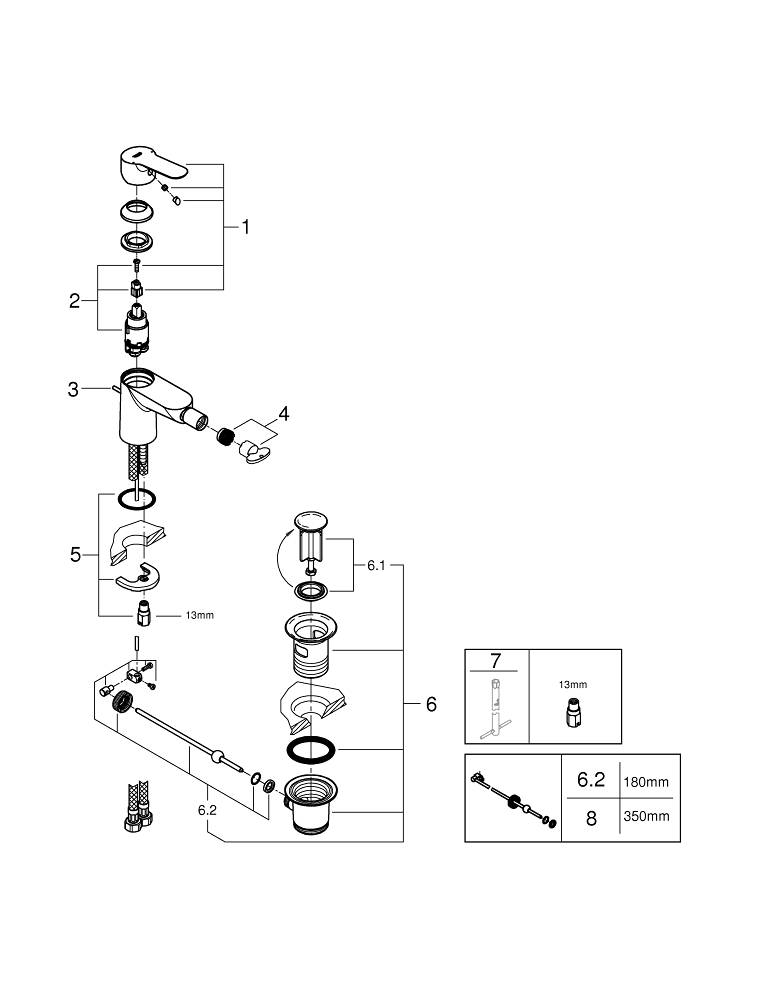
Náhradní díly
Související produkty
Grohe Water Technol. AG& Co.KG
GROHE Kontrašroubení Chrom #46249000
325 Kč včetně DPH
519 Kč včetně DPH
Grohe Water Technol. AG& Co.KG
GROHE Excentrická ovládací páka Chrom #07341000
719 Kč včetně DPH
1 789 Kč včetně DPH