Popis
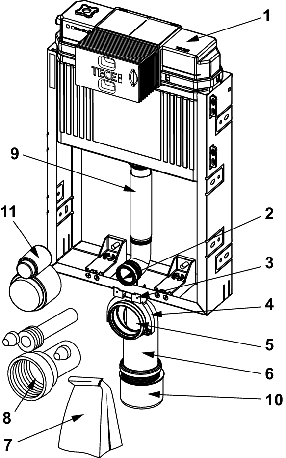
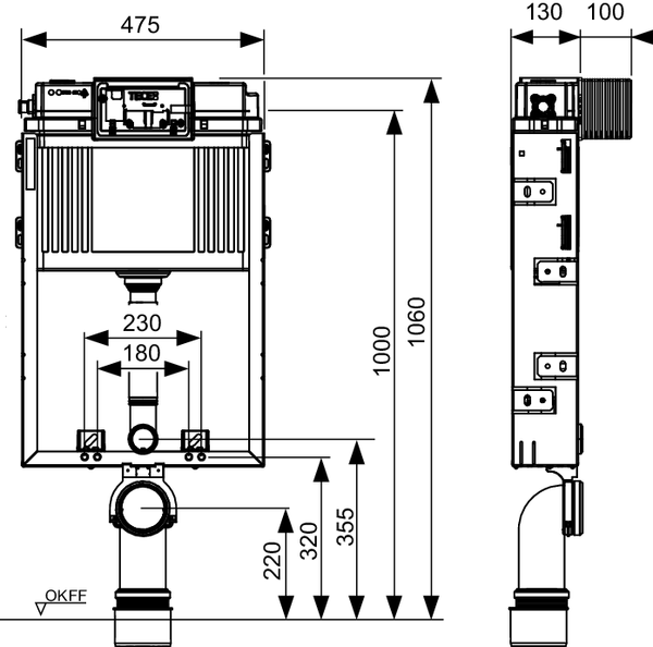
Modul pro toaletu s "easy fit" instalací ovládacího tlačítka pro instalaci do zdi nebo před nosnou stěnu. Kompletně sestavený montážní prvek obsahuje tyto položky: Nádržka Uni pro splachování zepředu: Bezpečná nádržka z nárazuvzdorného plastu, testovaná dle EN 14055 Nádržka je plně smontovaná a utěsněná Připojení nádržky pomocí 1/2" vnitřního závitu Nádržka o objemu 10 litrů; přednastavený standardní splachovací objem šest litrů; možnost kdykoliv nastavit splachovací objem 4,5/7,5/9 litrů; objem částečného spláchnutí tři litry u dvoumnožstevního splachování. Zbývající objem lze použít pro okamžité hygienické spláchnutí. Izolace proti orosení nádržky Pro ovládací tlačítka TECE a splachovací páčky Lze nastavit jako nádržku pro jednomnožstevní nebo dvoumnožstevní splachování podle typu použitého tlačítka "easy fit" instalace ovládacího tlačítka Instalační tunel pro revizní dvířka, lze zkrátit bez použití nástrojů Hydraulický plnící ventil nízké hlučnosti, akustická skupina 1 podle DIN 4109 Ovládání splachovacího tlaku bez nutnosti demontáže vypouštěcího ventilu Sestavený modul tvoří: Ocelový rám, pozinkovaný Dvě závitové tyče M 12 s maticemi, instalační rozměry 180 nebo 230 mm Odpadní koleno DN 90 s redukcí DN 90/100, materiál PP Redukce lze použít i pro přímé vodorovné napojení Připojovací sada toalety DN 90 včetně ochranné zátky Objednávejte prosím zvlášť: Ovládací tlačítka pro WC (viz Ovládací tlačítka) Nastavitelné podpěry 9030024 Sada pro vhazování čistících tablet (volitelné) TECE montážní sada pro zděné příčky pro sprchovací WC TECE (volitelné) Upozornění: Ideální pro montáž s přímým upevněním pomocí rohových spojů a trubek TECEprofil.